房屋,房屋買賣,房屋出售
近鹽埔國中小鹽埔鄉公所大地坪5樓透天車墅拍653萬
列印
  • 售653萬
    1. 案號:鹽埔鄉民族路
    2. 類型:法拍透天_別墅
    3. 總登記坪數:115.65坪
    4. 每坪單價:5.65萬/坪
    5. 地址:屏東縣鹽埔鄉民族路
    1. (煩請告知聯絡人,您是在House-Info房屋網看到廣告,感恩幫忙)
    2. 0934-087-640
    1. 市話:
    2. 公司名稱:
    3. 公司地址:
    4. 個人網站:
    鹽埔5樓透天車庫-QR CODE 留言 檢舉
物件介紹
詳細資料
最後更新
31分鐘內
銷售狀態
待標中
格局
4房,2廳,4衛,4陽台,1廚房
屋齡
33年
所在樓層
5樓
電梯
未知
是否凶宅
不是
法拍件
本件是法拍屋
拍次
二拍
開標日期
03/25
法拍件
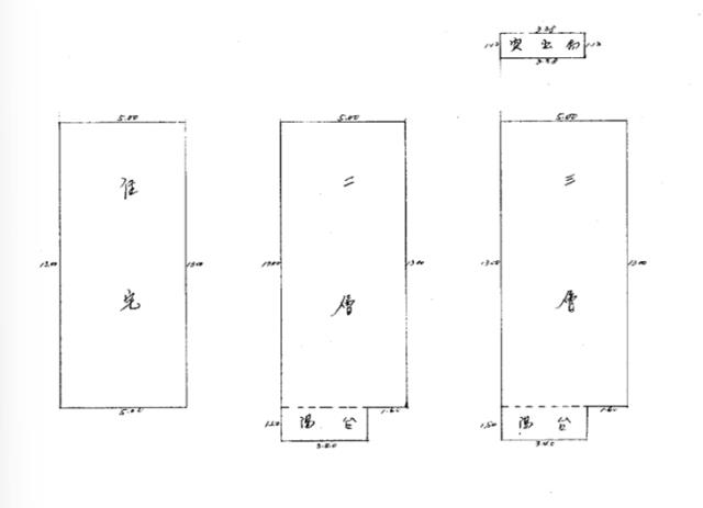
坪數說明
建物登記總坪數
115.65
主建物坪數
63.22
土地登記總坪數
44.51
特色描述
104法拍屋四大保證:

一、過濾案件︰保證產權清楚,過濾瑕疵案件

二、評估標價︰保證標得到又標得便宜

三、包辦點交︰保證和諧快速交屋附點交保固書

四、代墊尾款︰保證提供尾款代墊

◎沒得標•免付費!!竭‧誠‧為‧您‧服‧務

您所擔心的問題就是我們的專業

專業的問題,就交給專業有信用有口碑的團隊

代標顧問:蘇秀珠經理0934087640

目前拍次為03/25二拍653萬(有點交)《請來電洽詢進場拍次‧讓您標得到又標得低!》

Google高雄法拍顧問蘇秀珠經理0934087640

更多精選好屋

❤️買房網:買屋網mywoo-蘇秀珠豪宅規格親民價



❤️LINE:https://reurl.cc/28k2L9請點選連結可加LINE好友

❤️FB:https://reurl.cc/qZ1MNE特別徵選低總價物件

❤️樂屋網:vip.rakuya.com.tw/0934087640/sell更多精選物件請點連結

❤️便宜房子何處找?https://shorturl.at/qY5qG



※※法拍有時效性法拍資訊以法院公告為準※※

※※法拍屋不能看內部請來電洽詢詳細地址

物件照片
鹽埔透天法拍-0
鹽埔透天法拍-0
鹽埔透天法拍-1
鹽埔透天法拍-1
鹽埔透天法拍-2
鹽埔透天法拍-2
鹽埔透天法拍-3
鹽埔透天法拍-3
鹽埔透天法拍-4
鹽埔透天法拍-4
鹽埔透天法拍-5
鹽埔透天法拍-5
贊助商廣告
物件留言
請注意,如果您詢問的內容與物件不相符合或是廣告,經過審核,系統將會直接刪除您的發問內容
等待圖示
檢舉不實
等待圖示
相似物件
本網站保留一切權利,非經正式書面同意,禁止轉貼節錄。